• 購物車
  • global_icon
    中文
    繁中
    EN
    簡中
  • 會員登入
prev_btn
展開選單
next_btn

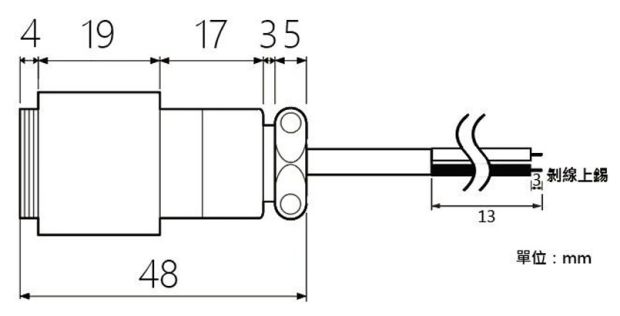
CL-5CM-4MF-2ND

型號
數量
型號

CL-5CM-4MF-2ND

備註: